Todos los usuarios de smartphones tenemos que lidiar con la carga de la batería. Sim importar el modelo o marca, la poca duración de la batería es uno de los mayores problemas a resolver por los fabricantes.
Pero eso podría cambiar muy pronto.
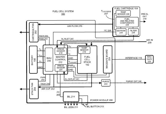
De acuerdo a Mashable, Apple obtuvo una patente el día de hoy que permitiría que la carga de la batería dure hasta una semana sin tener que recargarla.
Descrita por la compañía como un “sistema de pila de combustible para dispositivo informático portátil”, convertiría al combustible en energía eléctrica. Este incorpora además, una interfaz para el dispositivo portátil y un controlador que monitorea el estado de la pila de combustible.
El combustible empleado sería hidruro de litio y agua mezclada para hidrógeno líquido.
Este sistema permitiría “el funcionamiento continuo de dispositivos electrónicos portátiles durante días o incluso semanas sin recargar combustible”.
Como suele ocurrir con todas las patentes que presentan las compañías tecnológicas del mundo, hay una gran distancia entre lo que se registra y lo que finalmente llega un día a concretarse.
Habrá que esperar a ver si un día es posible olvidarse de cargar nuestros iPhones hasta por una semana.
Con información de Mashable




